|
在特斯拉 Model 3 刚上市的时候,有一个小细节常常被疏忽,但发明的人城市很利诱。 在后视镜的上方,特斯拉安装了一枚面向车内的摄像头,位置之隐蔽很难让人等闲发明,因此引来不少人的猜想,好比爱好阴谋论的人就会说这是马斯克监控司机的设备。为此特斯拉官方回应确认了摄像头的存在,但暗示这枚摄像头目前还不成用,更多详细信息也没有透露。
特斯拉 Model 3(参数|图片) 的车内摄像头 | Electrek 直到现在,我们终于知道这枚摄像头的真正用途。 凭据 Electrek 报导,特斯拉在最近申请的一项专利中暗示,他们将规划用驾驶室内的摄像头来晋升驾驶员的个性化体验。 实际上,在不少车内交互新功能中,许多都与车内摄像头息息相关。驾驶员疲劳监测、身份认证辨认等等都是被人们熟知的新应用。不外,另一些人却对这项功能颇具微词,称它是粉碎隐私的最后一道防地。所以在车内安装摄像头,究竟是不是一个好的决议? 特斯拉的「特立独行」 在特斯拉这项专利被暴光之前,外界对付 Model 3 车内摄像头的猜想大多关于驾驶员监测系统(Driver Monitor System,简称 DMS)。原因也很简略,目前大大都「智能汽车」,包含我们常说的「新造车势力」,几近全部在车内安装了车内摄像头,而且基于面向司机的摄像头延伸出了很多应用。 此中最常见的应用就是 DMS,威马 EX5、小鹏 G3(参数|图片)、凯迪拉克 CT6(参数|图片) 等车型都应用了该系统,用于监测驾驶员疲劳环境。凭据小鹏汽车最近更新的 Xmart OS 1.5 版本显示,通过车内摄像头及时检测驾驶员在行车进程中的疲劳举动特征(打欠伸、长时间闭眼等),在产生疲劳举动时实时做出预警。 沃尔沃则在 2019 年初宣布将使用安装在车内的摄像头监控驾驶员的举动,在驾驶员看上去分心或者酒驾时进行系统干涉干与。沃尔沃方面暗示,车内摄像头将监控眼球运动,但若驾驶员注意力在其他处所,好比看了一段时间手机、未能将手放在标的目的盘上,沃尔沃会通过救援中心的代表致电告诫;对付不看道路、甚至闭着眼睛的司机,需要时汽车将自动减速或者停止。
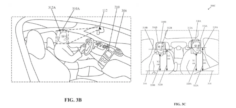
沃尔沃车内摄像头 | 网络 显然,这些车企其实不包含特斯拉。以特斯拉 CEO 伊隆·马斯克的敏锐度,但若车内摄像头要搭载 DMS 系统的话,不会担搁两年之久。 究竟上,马斯克曾旌旗光鲜地 diss 过驾驶员监测系统。美国国度运输平安委员会曾在 2016 年 6 月第一起特斯拉致命车祸产生时建议公司,应找出监测标的目的盘以外的方式來监控驾驶员的状态,但马斯克不予理会。 「眼球追踪的提议之所以不被采纳,其实不是因为本钱,而是因为这种做法『无效』,」马斯克在推特上说到。「特斯拉是目前最平安的汽车,比普通汽车平安了 4 倍之多。」如今特斯拉展示的专利也证明,其车内摄像头承载着比 DMS 更大的构想。 据悉,特斯拉这项名为「基于搭客身体部位空间位置的个性化系统」(Personalization System and Method for a Vehicle based on Spatial Locations of Occupants』 Body Portions)的专利是这样描述的: 「该个性化系统包含车内的图像捕捉装置。该装置颠末设置增加了对车辆搭客的整体安宁性和娱乐体验。无论是在驾驶前仍是在驾驶进程中,个性化系统提供先进、智能和自动的及时或者近及时车内系统个性化,以加强一致的车内安宁性和娱乐体验。」
特斯拉个性化系统专利截图 | Electrek 专利提到,个性化系统可以凭据一名或者多名车内乘员的相关位置和捕捉的图像,估量各类身体部位的各类高度,凭据用户预先设定的偏好,确定分歧高度、分歧身体部位和分歧车载系统之间的关联。该新方式除了可以计较车内人数之外,还可以实现其他功能。 简略归纳综合,特斯拉但愿把摄像头当成搭客辨认记忆,这样每一次有人进入车辆内都不必要手动调整座椅、后视镜等。 但若在私人车辆内,座椅记忆功能只必要进行自界说便可,为什么还必要摄像头来断定? 显然,马斯克的构想内不仅限于私人车辆,面向的是 Robotaxi 等自动驾驶车队,打造一整套的个性化系统。从以车为焦点转变到以人为焦点,能让人上任意一辆车后,汽车都能感知你的举动偏好以及驾驶习惯。
特斯拉个性化系统专利截图 | Electrek 总的来讲,DMS 与特斯拉的个性化系统都是由车内摄像头连系了人脸辨认技能带来的强大功能。但人们会对这颗一直监控着车内环境的摄像头买账吗?仍有很多人质疑车内摄像头,此中最担忧的问题莫过于隐私。 隐私是最大障碍? 因为会存储并阐发生物特征数据,车内的摄像头也引发了人们对付隐私的思考。 「你不关心隐私,不代表他人不关心,这个功能是不公道的。」一位网友在论坛里评价车内摄像头如此说到。 对付这类否决的声音,车企给出的复兴是:给用户自主选择的权利。 「在进行技能开发的时候,我们要斟酌的是和整个完整场景的交融,但若有用户担忧所谓的隐私泄露,直接关闭就能够了,甚至是不激活。」斑马网络 CEO 郝飞奉告极客公园(ID:geekpark)。在斑马最近展示的新技能里,包含了通过车内摄像头辨认驾驶员姿态、脸色等信息功能。 最近上市的奇瑞星途车型傍边,奇瑞与小度车载 OS 互助安装了一颗面向司机的摄像头,能够用于人脸辨认、刷脸支付等等。奇瑞的工作人员同样向极客公园(ID:geekpark)暗示,但若不必要的话,可随时将摄像头关闭。
星途车内摄像头在司机的右上方 | 星途官网 宝马汽车公司无人驾驶资深专家德里克·维塞尔曼 (Dirk Wisselmann) 曾暗示,车企明白驾驶员监测技能会引发隐私问题,因此宝马不会存储驾驶员监控的信息。 有趣的是,特斯拉之前还提出过一个想法:给摄像头加一个滑盖,就像笔记本电脑上的摄像头一样,不必要的时候就把盖子合上,但这个前瞻的想法最终并未在 Model 3 上实现。 可是,不开启摄像其实不是最终的解决方案。 就像手机泛起前摄像头、iPhone X 首次搭载了深度摄像头可进行人脸辨认一样,既然用户可以接受手机的前摄像头,那么车内摄像头是同样的事理。必要让用户领会的一点是,这枚摄像头在个性化体验方面都能带来很大的想象空间。 但若有人坐在后排,摄像头会辨认并自动调整通风口;有搭客毁坏车辆时它拍摄的画面将是有力的证据;开启自动驾驶时但若有司机昏迷的环境存在,能够直接公告到病院……更不消说在自动驾驶标的目的,车内摄像头存在的意义实际上是增强平安保障。但若没有摄像头监控司机举动,主机厂们担忧司机遇误用或者滥用辅助驾驶系统,甚至以后的全自动驾驶。
当自动驾驶光降时,车内摄像头能够起到更大的作用 | 视觉中国 为了提供更高档的服务,汽车上除了机械视觉之外还参加了语音等技能,形成多模态交互。「这些系统城市成为所有汽车的尺度配置,」高通汽车产物经管副总裁 Nakul Duggal 暗示。 多种多样的用途可以晋升用户体验,这是大趋势之一。「技能自己没有可接受或者不成接受,而是说能不克不及够用更低的本钱,到达更高的机能效果,甚至到达更好的使用体验。」郝飞如此说到。 我们必需认可,为了迎接趋势,必要罢休一些工具,但其实不意味着捐躯失落隐私。所以,对付隐私而言,给用户自主选择权只是解决方案的此中一部门,怎样让车企正确使用数据、增强对付数据隐私平安的保障,也是解决方案的关头所在。 |




